
上周五资金面已经明显缓和,上海银行间同业拆放利率(Shibor)隔夜下行16.6个基点,隔夜利率已跌至2%以下,7天Shibor上行1.4个基点,报2.338%。14天Shibor大幅上行23.3个基点,DR007加权平均利率降至2.25%。

所谓央行逆回购,是指中国人民银行向一级交易商购买有价证券,并约定在未来特定日期将有价证券卖还给一级交易商的交易行为。简单说,就是把钱借给商业银行,是一种向市场投放流动性的行为。
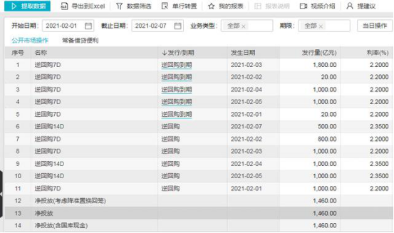
Wind提供数据显示,2月1日至2月7日央行累计开展5300亿元逆回购,逆回购到期3840亿元,本周累计净投放1460亿元。

值得注意的是,2021年以来,央行在工作日均开展了逆回购操作,但主要以7天逆回购为主。2月4日为央行今年以来首次开展14天逆回购操作。之后,2月5日、2月7日央行连续开展14天逆回购操作。
中国人民银行货币政策司司长孙国峰文章《2020年货币政策回顾与2021年展望》。就“2021年货币政策思路”,孙国峰在文章中写到,“做好2021年货币政策工作,重点是要深入理解稳健货币政策要灵活精准、合理适度的取向。”他指出,一是灵活保持总量合理适度,二是构建金融有效支持实体经济的体制机制,三是健全市场化利率形成和传导机制,四是深化人民币汇率市场化改革,把握好内部均衡和外部均衡的平衡。
本周资金面转松,一方面有月初的季节性因素,另一方面也与央行加大净投放有关。值得注意的是,央行于2月4日开始投放14天逆回购,这可能意味着逆回购将是央行熨平春节前后流动性波动的主要工具。整体来看,未来货币政策在坚持稳健基调不变的同时,将更加强调精准性,宏观经济延续复苏态势、货币政策正常化。
